سنسور القایی PR و PRW آنونیکس

سنسور القایی سری PRW

سنسور القایی سری PRW

سنسور القایی سری PR

سنسور القایی سری PR

سنسور مجاورتی القایی سری PR و PRW جایگزینی مناسب برای میکرو سوئیچ ها و لیمیت سوئیچ ها می باشد. شکل ظاهری این سری استوانه ای است که در اندازه های مختلف و فاصله های تشخیص متفاوت (از 1.5 میلی متر تا 15 میلی متر) در دسترس اند. برای کاربردهایی که نیاز به تشخیص غیر تماسی اشیاء فلزی است، سنسور های القایی سری PR و PRW، گزینه مناسبی محسوب می شوند. هر دو سری PRW و PR در سه نوع سه سیم DC، دو سیم AC و دوسیم DC طراحی و تولید شده اند.

تفاوت سری های PRW و PR در نحوه ی اتصال آنها می باشد. سری PRW از نوع کابل-کانکتور می باشد که سیم کشی و نگهداری آسان تری دارند. کابل آن مقاوم در برابر کشش به منظور انعطاف بیشتر و ماندگاری بالاتر می باشد.

مشخصات کلی:

  • دارای عمر کاری بالا، قابلیت اطمینان بالا و عملکرد ساده
  • مقاومت بالا در برابر نویز به واسطه IC مخصوص
  • دارای مدار حفاظت در برابر موج های ضربه ای
  • قطر در انواع : 8mm ،12mm ،18mm و 30mm
  • نحوه اتصال به صورت کابل در دو نوع : استاندارد و مقاوم در برابر روغن
  • ساختار ضد آب با درجه حفاظت IP67
  • عمر کاری بالا، قابلیت اطمینان بالا و عملکرد ساده

نکات قابل توجه :

هنگام استفاده از سنسور مجاورتی دو سیم AC و DC، حتما بار باید وصل شود. در غیر این صورت قطعات داخلی سنسور ممکن است آسیب ببینند.(بار می تواند با هر جهتی متصل شود)

ولتاژ نشتی می تواند باعث خرابی در سیکل برگشت بار شود. اگر جریان بار کمتر 5mA است، اطمینان حاصل کنید که ولتاژ نشتی، با استفاده از نصب یک مقاومت تخلیه به صورت موازی با بار مطابق شکل زیر، کمتر از ولتاژ برگشتی بار شود.

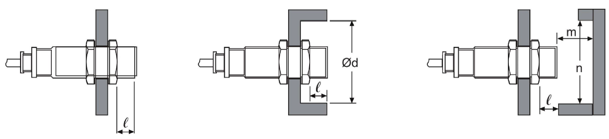
در صورتی که چندین سنسور مجاورتی به صورت نزدیک به هم متصل شده باشند، به دلیل تداخل مشترک در عملکرد سنسور ممکن است مشکلاتی به وجود بیاید. لذا، مطابق شکل زیر حداقل فواصل بین سنسور ها را رعایت کنید.

در صورت نصب سنسور ها روی یک صفحه فلزی، لازم است تا سنسور ها از تاثیرات هر هدف فلزی به جز هدف تشخیص، محافظت شوند لذا یک حداقل فاصله ای را مطابق شکل زیر در نظر بگیرید.

در ادامه جدول فاصله های بیان شده بر حسب میلی متر آمده است :

جدول فاصله سنسور القایی سری PRجدول فاصله سنسور القایی سری PRW

جهت دانلود PDF دیتا شیت سنسور القایی آتونیکس سری PR اینجا کلیک کنید.

جهت دانلود PDF دیتا شیت سنسور القایی آتونیکس سری PRW اینجا کلیک کنید.

محصولات سنسور القایی آتونیکس سری PR و PRW :

سنسور القایی سه سیمه NPN-NO قطر 8mm فاصله عملکرد 1.5mm آتونیکس PRW08-1.5DN
سنسور القایی سه سیمه NPN-NC قطر 8mm فاصله عملکرد 1.5mm آتونیکس PRW08-1.5DN2
سنسور القایی سه سیمه NPN-NC قطر 8mm فاصله عملکرد 1.5mm آتونیکس PRW08-1.5DN2-V
سنسور القایی سه سیمه NPN-NO قطر 8mm فاصله عملکرد 1.5mm آتونیکس PRW08-1.5DN-V
سنسور القایی سه سیمه PNP-NO قطر 8mm فاصله عملکرد 1.5mm آتونیکس PRW08-1.5DP
سنسور القایی سه سیمه PNP-NC قطر 8mm فاصله عملکرد 1.5mm آتونیکس PRW08-1.5DP2
سنسور القایی سه سیمه PNP-NC قطر 8mm فاصله عملکرد 1.5mm آتونیکس PRW08-1.5DP2-V
سنسور القایی سه سیمه PNP-NO قطر 8mm فاصله عملکرد 1.5mm آتونیکس PRW08-1.5DP-V
سنسور القایی سه سیمه NPN-NO قطر 8mm فاصله عملکرد 2mm آتونیکس PRW08-2DN
سنسور القایی سه سیمه NPN-NC قطر 8mm فاصله عملکرد 2mm آتونیکس PRW08-2DN2
سنسور القایی سه سیمه NPN-NC قطر 8mm فاصله عملکرد 2mm آتونیکس PRW08-2DN2-V
سنسور القایی سه سیمه NPN-NO قطر 8mm فاصله عملکرد 2mm آتونیکس PRW08-2DN-V
سنسور القایی سه سیمه PNP-NO قطر 8mm فاصله عملکرد 2mm آتونیکس PRW08-2DP
سنسور القایی سه سیمه PNP-NC قطر 8mm فاصله عملکرد 2mm آتونیکس PRW08-2DP2
سنسور القایی سه سیمه PNP-NC قطر 8mm فاصله عملکرد 2mm آتونیکس PRW08-2DP2-V
سنسور القایی سه سیمه PNP-NO قطر 8mm فاصله عملکرد 2mm آتونیکس PRW08-2DP-V
سنسور القایی دو سیمه NC قطر 12mm فاصله عملکرد 2mm آتونیکس PRW12-2AC
سنسور القایی دو سیمه NO قطر 12mm فاصله عملکرد 2mm آتونیکس PRW12-2AO
سنسور القایی سه سیمه NO قطر 12mm فاصله عملکرد 2mm آتونیکس PRW12-2AO-V
سنسور القایی سه سیمه NPN-NO قطر 12mm فاصله عملکرد 2mm آتونیکس PRW12-2DN
سنسور القایی سه سیمه NPN-NC قطر 12mm فاصله عملکرد 2mm آتونیکس PRW12-2DN2
سنسور القایی سه سیمه PNP-NO قطر 12mm فاصله عملکرد 2mm آتونیکس PRW12-2DP
سنسور القایی سه سیمه PNP-NC قطر 12mm فاصله عملکرد 2mm آتونیکس PRW12-2DP2
سنسور القایی دو سیمه NC قطر 12mm فاصله عملکرد 4mm آتونیکس PRW12-4AC
سنسور القایی دو سیمه NO قطر 12mm فاصله عملکرد 4mm آتونیکس PRW12-4AO
سنسور القایی دو سیمه NO قطر 12mm فاصله عملکرد 4mm آتونیکس PRW12-4AO-V
سنسور القایی سه سیمه NPN-NO قطر 12mm فاصله عملکرد 4mm آتونیکس PRW12-4DN
سنسور القایی سه سیمه NPN-NC قطر 12mm فاصله عملکرد 4mm آتونیکس PRW12-4DN2
سنسور القایی سه سیمه PNP-NO قطر 12mm فاصله عملکرد 4mm آتونیکس PRW12-4DP
سنسور القایی سه سیمه PNP-NC قطر 12mm فاصله عملکرد 4mm آتونیکس PRW12-4DP2
سنسور القایی دو سیمه NC قطر 18mm فاصله عملکرد 5mm آتونیکس PRW18-5AC
سنسور القایی دو سیمه NO قطر 18mm فاصله عملکرد 5mm آتونیکس PRW18-5AO
سنسور القایی دو سیمه NO قطر 18mm فاصله عملکرد 5mm آتونیکس PRW18-5AO-V
سنسور القایی سه سیمه NPN-NO قطر 18mm فاصله عملکرد 5mm آتونیکس PRW18-5DN
سنسور القایی سه سیمه NPN-NC قطر 18mm فاصله عملکرد 5mm آتونیکس PRW18-5DN2
سنسور القایی سه سیمه PNP-NO قطر 18mm فاصله عملکرد 5mm آتونیکس PRW18-5DP
سنسور القایی سه سیمه PNP-NC قطر 18mm فاصله عملکرد 5mm آتونیکس PRW18-5DP2
سنسور القایی دو سیمه NC قطر 18mm فاصله عملکرد 8mm آتونیکس PRW18-8AC
سنسور القایی دو سیمه NO قطر 18mm فاصله عملکرد 8mm آتونیکس PRW18-8AO
سنسور القایی دو سیمه NO قطر 18mm فاصله عملکرد 8mm آتونیکس PRW18-8AO-V
سنسور القایی سه سیمه NPN-NO قطر 18mm فاصله عملکرد 8mm آتونیکس PRW18-8DN
سنسور القایی سه سیمه NPN-NC قطر 18mm فاصله عملکرد 8mm آتونیکس PRW18-8DN2
سنسور القایی سه سیمه PNP-NO قطر 18mm فاصله عملکرد 8mm آتونیکس PRW18-8DP
سنسور القایی سه سیمه PNP-NC قطر 18mm فاصله عملکرد 8mm آتونیکس PRW18-8DP2
سنسور القایی دو سیمه NC قطر 30mm فاصله عملکرد 10mm آتونیکس PRW30-10AC
سنسور القایی دو سیمه NO قطر 30mm فاصله عملکرد 10mm آتونیکس PRW30-10AO
سنسور القایی دو سیمه NO قطر 30mm فاصله عملکرد 10mm آتونیکس PRW30-10AO-V
سنسور القایی سه سیمه NPN-NO قطر 30mm فاصله عملکرد 10mm آتونیکس PRW30-10DN
سنسور القایی سه سیمه NPN-NC قطر 30mm فاصله عملکرد 10mm آتونیکس PRW30-10DN2
سنسور القایی سه سیمه NPN-NC قطر 30mm فاصله عملکرد 10mm آتونیکس PRW30-10DN2-V
سنسور القایی سه سیمه NPN-NO قطر 30mm فاصله عملکرد 10mm آتونیکس PRW30-10DN-V
سنسور القایی سه سیمه PNP-NO قطر 30mm فاصله عملکرد 10mm آتونیکس PRW30-10DP
سنسور القایی سه سیمه PNP-NC قطر 30mm فاصله عملکرد 10mm آتونیکس PRW30-10DP2
سنسور القایی سه سیمه PNP-NC قطر 30mm فاصله عملکرد 10mm آتونیکس PRW30-10DP2-V
سنسور القایی سه سیمه PNP-NO قطر 30mm فاصله عملکرد 10mm آتونیکس PRW30-10DP-V
سنسور القایی دو سیمه NC قطر 30mm فاصله عملکرد 15mm آتونیکس PRW30-15AC
سنسور القایی دو سیمه NO قطر 30mm فاصله عملکرد 15mm آتونیکس PRW30-15AO
سنسور القایی دو سیمه NO قطر 30mm فاصله عملکرد 15mm آتونیکس PRW30-15AO-V
سنسور القایی سه سیمه NPN-NO قطر 30mm فاصله عملکرد 15mm آتونیکس PRW30-15DN
سنسور القایی سه سیمه NPN-NO قطر 30mm فاصله عملکرد 15mm آتونیکس PRW30-15DN-V
سنسور القایی سه سیمه NPN-NC قطر 30mm فاصله عملکرد 15mm آتونیکس PRW30-15DN2
سنسور القایی سه سیمه NPN-NC قطر 30mm فاصله عملکرد 15mm آتونیکس PRW30-15DN2-V
سنسور القایی سه سیمه PNP-NO قطر 30mm فاصله عملکرد 15mm آتونیکس PRW30-15DP
سنسور القایی سه سیمه PNP-NC قطر 30mm فاصله عملکرد 15mm آتونیکس PRW30-15DP2
سنسور القایی سه سیمه PNP-NC قطر 30mm فاصله عملکرد 15mm آتونیکس PRW30-15DP2-V
سنسور القایی سه سیمه PNP-NO قطر 30mm فاصله عملکرد 15mm آتونیکس PRW30-15DP-V
سنسور القایی سه سیمه NPN-NO قطر 8mm فاصله عملکرد 1.5mm آتونیکس PRWL08-1.5DN
سنسور القایی سه سیمه NPN-NC قطر 8mm فاصله عملکرد 1.5mm آتونیکس PRWL08-1.5DN2
سنسور القایی سه سیمه PNP-NO قطر 8mm فاصله عملکرد 1.5mm آتونیکس PRWL08-1.5DP
سنسور القایی سه سیمه PNP-NC قطر 8mm فاصله عملکرد 1.5mm آتونیکس PRWL08-1.5DP2
سنسور القایی سه سیمه NPN-NO قطر 8mm فاصله عملکرد 2mm آتونیکس PRWL08-2DN
سنسور القایی سه سیمه NPN-NC قطر 8mm فاصله عملکرد 2mm آتونیکس PRWL08-2DN2
سنسور القایی سه سیمه PNP-NO قطر 8mm فاصله عملکرد 2mm آتونیکس PRWL08-2DP
سنسور القایی سه سیمه PNP-NC قطر 8mm فاصله عملکرد 2mm آتونیکس PRWL08-2DP2
سنسور القایی دو سیمه NC قطر 18mm فاصله عملکرد 5mm آتونیکس PRWL18-5AC
سنسور القایی دو سیمه NO قطر 18mm فاصله عملکرد 5mm آتونیکس PRWL18-5AO
سنسور القایی سه سیمه NPN-NO قطر 18mm فاصله عملکرد 5mm آتونیکس PRWL18-5DN
سنسور القایی سه سیمه NPN-NC قطر 18mm فاصله عملکرد 5mm آتونیکس PRWL18-5DN2
سنسور القایی سه سیمه PNP-NO قطر 18mm فاصله عملکرد 5mm آتونیکس PRWL18-5DP
سنسور القایی سه سیمه PNP-NC قطر 18mm فاصله عملکرد 5mm آتونیکس PRWL18-5DP2
سنسور القایی دو سیمه NC قطر 18mm فاصله عملکرد 8mm آتونیکس PRWL18-8AC
سنسور القایی دو سیمه NO قطر 18mm فاصله عملکرد 8mm آتونیکس PRWL18-8AO
سنسور القایی سه سیمه NPN-NO قطر 18mm فاصله عملکرد 8mm آتونیکس PRWL18-8DN
سنسور القایی سه سیمه NPN-NC قطر 18mm فاصله عملکرد 8mm آتونیکس PRWL18-8DN2
سنسور القایی سه سیمه PNP-NO قطر 18mm فاصله عملکرد 8mm آتونیکس PRWL18-8DP
سنسور القایی سه سیمه PNP-NC قطر 18mm فاصله عملکرد 8mm آتونیکس PRWL18-8DP2
سنسور القایی دو سیمه NC قطر 30mm فاصله عملکرد 10mm آتونیکس PRWL30-10AC
سنسور القایی دو سیمه NO قطر 30mm فاصله عملکرد 10mm آتونیکس PRWL30-10AO
سنسور القایی سه سیمه NPN-NO قطر 30mm فاصله عملکرد 10mm آتونیکس PRWL30-10DN
سنسور القایی سه سیمه NPN-NC قطر 30mm فاصله عملکرد 10mm آتونیکس PRWL30-10DN2
سنسور القایی سه سیمه PNP-NO قطر 30mm فاصله عملکرد 10mm آتونیکس PRWL30-10DP
سنسور القایی سه سیمه PNP-NC قطر 30mm فاصله عملکرد 10mm آتونیکس PRWL30-10DP2
سنسور القایی دو سیمه NC قطر 30mm فاصله عملکرد 15mm آتونیکس PRWL30-15AC
سنسور القایی دو سیمه NO قطر 30mm فاصله عملکرد 15mm آتونیکس PRWL30-15AO
سنسور القایی سه سیمه NPN-NO قطر 30mm فاصله عملکرد 15mm آتونیکس PRWL30-15DN
سنسور القایی سه سیمه NPN-NC قطر 30mm فاصله عملکرد 15mm آتونیکس PRWL30-15DN2
سنسور القایی سه سیمه PNP-NO قطر 30mm فاصله عملکرد 15mm آتونیکس PRWL30-15DP
سنسور القایی سه سیمه PNP-NC قطر 30mm فاصله عملکرد 15mm آتونیکس PRWL30-15DP2
سنسور القایی دو سیمه NC قطر 8mm فاصله عملکرد 1.5mm آتونیکس PRWT08-1.5DC
سنسور القایی دو سیمه NC قطر 8mm فاصله عملکرد 1.5mm آتونیکس PRWT08-1.5DC-I
سنسور القایی دو سیمه NC قطر 8mm فاصله عملکرد 1.5mm آتونیکس PRWT08-1.5DC-IV
سنسور القایی دو سیمه NC قطر 8mm فاصله عملکرد 1.5mm آتونیکس PRWT08-1.5DC-V
سنسور القایی دو سیمه NO قطر 8mm فاصله عملکرد 1.5mm آتونیکس PRWT08-1.5DO
سنسور القایی دو سیمه NO قطر 8mm فاصله عملکرد 1.5mm آتونیکس PRWT08-1.5DO-I
سنسور القایی دو سیمه NO قطر 8mm فاصله عملکرد 1.5mm آتونیکس PRWT08-1.5DO-IV
سنسور القایی دو سیمه NO قطر 8mm فاصله عملکرد 1.5mm آتونیکس PRWT08-1.5DO-V
سنسور القایی دو سیمه NC قطر 8mm فاصله عملکرد 2mm آتونیکس PRWT08-2DC
سنسور القایی دو سیمه NC قطر 8mm فاصله عملکرد 2mm آتونیکس PRWT08-2DC-I
سنسور القایی دو سیمه NC قطر 8mm فاصله عملکرد 2mm آتونیکس PRWT08-2DC-IV
سنسور القایی دو سیمه NC قطر 8mm فاصله عملکرد 2mm آتونیکس PRWT08-2DC-V
سنسور القایی دو سیمه NO قطر 8mm فاصله عملکرد 2mm آتونیکس PRWT08-2DO
سنسور القایی دو سیمه NO قطر 8mm فاصله عملکرد 2mm آتونیکس PRWT08-2DO-I
سنسور القایی دو سیمه NO قطر 8mm فاصله عملکرد 2mm آتونیکس PRWT08-2DO-IV
سنسور القایی دو سیمه NO قطر 8mm فاصله عملکرد 2mm آتونیکس PRWT08-2DO-V
سنسور القایی دو سیمه NC قطر 12mm فاصله عملکرد 2mm آتونیکس PRWT12-2DC
سنسور القایی دو سیمه NC قطر 12mm فاصله عملکرد 2mm آتونیکس PRWT12-2DC-I
سنسور القایی دو سیمه NO قطر 12mm فاصله عملکرد 2mm آتونیکس PRWT12-2DO
سنسور القایی دو سیمه NO قطر 12mm فاصله عملکرد 2mm آتونیکس PRWT12-2DO-I
سنسور القایی دو سیمه NC قطر 12mm فاصله عملکرد 2mm آتونیکس PRWT12-2XC
سنسور القایی دو سیمه NC قطر 12mm فاصله عملکرد 2mm آتونیکس PRWT12-2XC-I
سنسور القایی دو سیمه NO قطر 12mm فاصله عملکرد 2mm آتونیکس PRWT12-2XO
سنسور القایی دو سیمه NO قطر 12mm فاصله عملکرد 2mm آتونیکس PRWT12-2XO-I
سنسور القایی دو سیمه NC قطر 12mm فاصله عملکرد 4mm آتونیکس PRWT12-4DC
سنسور القایی دو سیمه NC قطر 12mm فاصله عملکرد 4mm آتونیکس PRWT12-4DC-I
سنسور القایی دو سیمه NO قطر 12mm فاصله عملکرد 4mm آتونیکس PRWT12-4DO
سنسور القایی دو سیمه NO قطر 12mm فاصله عملکرد 4mm آتونیکس PRWT12-4DO-I
سنسور القایی دو سیمه NC قطر 12mm فاصله عملکرد 4mm آتونیکس PRWT12-4XC
سنسور القایی دو سیمه NC قطر 12mm فاصله عملکرد 4mm آتونیکس PRWT12-4XC-I
سنسور القایی دو سیمه NO قطر 12mm فاصله عملکرد 4mm آتونیکس PRWT12-4XO
سنسور القایی دو سیمه NO قطر 12mm فاصله عملکرد 4mm آتونیکس PRWT12-4XO-I
سنسور القایی دو سیمه NC قطر 18mm فاصله عملکرد 5mm آتونیکس PRWT18-5DC
سنسور القایی دو سیمه NC قطر 18mm فاصله عملکرد 5mm آتونیکس PRWT18-5DC-I
سنسور القایی دو سیمه NO قطر 18mm فاصله عملکرد 5mm آتونیکس PRWT18-5DO
سنسور القایی دو سیمه NO قطر 18mm فاصله عملکرد 5mm آتونیکس PRWT18-5DO-I
سنسور القایی دو سیمه NC قطر 18mm فاصله عملکرد 5mm آتونیکس PRWT18-5XC
سنسور القایی دو سیمه NC قطر 18mm فاصله عملکرد 5mm آتونیکس PRWT18-5XC-I
سنسور القایی دو سیمه NO قطر 18mm فاصله عملکرد 5mm آتونیکس PRWT18-5XO
سنسور القایی دو سیمه NO قطر 18mm فاصله عملکرد 5mm آتونیکس PRWT18-5XO-I
سنسور القایی دو سیمه NC قطر 18mm فاصله عملکرد 8mm آتونیکس PRWT18-8DC
سنسور القایی دو سیمه NC قطر 18mm فاصله عملکرد 8mm آتونیکس PRWT18-8DC-I
سنسور القایی دو سیمه NO قطر 18mm فاصله عملکرد 8mm آتونیکس PRWT18-8DO
سنسور القایی دو سیمه NO قطر 18mm فاصله عملکرد 8mm آتونیکس PRWT18-8DO-I
سنسور القایی دو سیمه NC قطر 18mm فاصله عملکرد 8mm آتونیکس PRWT18-8XC
سنسور القایی دو سیمه NC قطر 18mm فاصله عملکرد 8mm آتونیکس PRWT18-8XC-I
سنسور القایی دو سیمه NO قطر 18mm فاصله عملکرد 8mm آتونیکس PRWT18-8XO
سنسور القایی دو سیمه NO قطر 18mm فاصله عملکرد 8mm آتونیکس PRWT18-8XO-I
سنسور القایی دو سیمه NC قطر 30mm فاصله عملکرد 10mm آتونیکس PRWT30-10DC
سنسور القایی دو سیمه NC قطر 30mm فاصله عملکرد 10mm آتونیکس PRWT30-10DC-I
سنسور القایی دو سیمه NO قطر 30mm فاصله عملکرد 10mm آتونیکس PRWT30-10DO
سنسور القایی دو سیمه NO قطر 30mm فاصله عملکرد 10mm آتونیکس PRWT30-10DO-I
سنسور القایی دو سیمه NO قطر 30mm فاصله عملکرد 10mm آتونیکس PRWT30-10DO-IV
سنسور القایی دو سیمه NO قطر 30mm فاصله عملکرد 10mm آتونیکس PRWT30-10DO-V
سنسور القایی دو سیمه NC قطر 30mm فاصله عملکرد 10mm آتونیکس PRWT30-10XC
سنسور القایی دو سیمه NC قطر 30mm فاصله عملکرد 10mm آتونیکس PRWT30-10XC-I
سنسور القایی دو سیمه NO قطر 30mm فاصله عملکرد 10mm آتونیکس PRWT30-10XO
سنسور القایی دو سیمه NO قطر 30mm فاصله عملکرد 10mm آتونیکس PRWT30-10XO-I
سنسور القایی دو سیمه NC قطر 30mm فاصله عملکرد 15mm آتونیکس PRWT30-15DC
سنسور القایی دو سیمه NC قطر 30mm فاصله عملکرد 15mm آتونیکس PRWT30-15DC-I
سنسور القایی دو سیمه NO قطر 30mm فاصله عملکرد 15mm آتونیکس PRWT30-15DO
سنسور القایی دو سیمه NO قطر 30mm فاصله عملکرد 15mm آتونیکس PRWT30-15DO-I
سنسور القایی دو سیمه NO قطر 30mm فاصله عملکرد 15mm آتونیکس PRWT30-15DO-IV
سنسور القایی دو سیمه NO قطر 30mm فاصله عملکرد 15mm آتونیکس PRWT30-15DO-V
سنسور القایی دو سیمه NC قطر 30mm فاصله عملکرد 15mm آتونیکس PRWT30-15XC
سنسور القایی دو سیمه NC قطر 30mm فاصله عملکرد 15mm آتونیکس PRWT30-15XC-I
سنسور القایی دو سیمه NO قطر 30mm فاصله عملکرد 15mm آتونیکس PRWT30-15XO
سنسور القایی دو سیمه NO قطر 30mm فاصله عملکرد 15mm آتونیکس PRWT30-15XO-I
سنسور القایی سه سیمه NPN-NO قطر 8mm فاصله عملکرد 1.5mm آتونیکس PR08-1.5DN
سنسور القایی سه سیمه NPN-NC قطر 8mm فاصله عملکرد 1.5mm آتونیکس PR08-1.5DN2
سنسور القایی سه سیمه PNP-NO قطر 8mm فاصله عملکرد 1.5mm آتونیکس PR08-1.5DP
سنسور القایی سه سیمه PNP-NC قطر 8mm فاصله عملکرد 1.5mm آتونیکس PR08-1.5DP2
سنسور القایی سه سیمه PNP-NO قطر 8mm فاصله عملکرد 1.5mm آتونیکس PR08-1.5DP-V
سنسور القایی سه سیمه NPN-NO قطر 8mm فاصله عملکرد 2mm آتونیکس PR08-2DN
سنسور القایی سه سیمه NPN-NC قطر 8mm فاصله عملکرد 2mm آتونیکس PR08-2DN2
سنسور القایی سه سیمه PNP-NO قطر 8mm فاصله عملکرد 2mm آتونیکس PR08-2DP
سنسور القایی سه سیمه PNP-NC قطر 8mm فاصله عملکرد 2mm آتونیکس PR08-2DP2
سنسور القایی دو سیمه NC قطر 12mm فاصله عملکرد 2mm آتونیکس PR12-2AC
سنسور القایی دو سیمه NO قطر 12mm فاصله عملکرد 2mm آتونیکس PR12-2AO
سنسور القایی دو سیمه NO قطر 12mm فاصله عملکرد 2mm آتونیکس PR12-2AO-V
سنسور القایی سه سیمه NPN-NO قطر 12mm فاصله عملکرد 2mm آتونیکس PR12-2DN
سنسور القایی سه سیمه NPN-NC قطر 12mm فاصله عملکرد 2mm آتونیکس PR12-2DN2
سنسور القایی سه سیمه NPN-NO قطر 12mm فاصله عملکرد 2mm آتونیکس PR12-2DN-V
سنسور القایی سه سیمه PNP-NO قطر 12mm فاصله عملکرد 2mm آتونیکس PR12-2DP
سنسور القایی سه سیمه PNP-NC قطر 12mm فاصله عملکرد 2mm آتونیکس PR12-2DP2
سنسور القایی سه سیمه PNP-NO قطر 12mm فاصله عملکرد 2mm آتونیکس PR12-2DP-V
سنسور القایی دو سیمه NC قطر 12mm فاصله عملکرد 4mm آتونیکس PR12-4AC
سنسور القایی دو سیمه NC قطر 12mm فاصله عملکرد 4mm آتونیکس PR12-4AC-V
سنسور القایی دو سیمه NO قطر 12mm فاصله عملکرد 4mm آتونیکس PR12-4AO
سنسور القایی دو سیمه NO قطر 12mm فاصله عملکرد 4mm آتونیکس PR12-4AO-V
سنسور القایی سه سیمه NPN-NO قطر 12mm فاصله عملکرد 4mm آتونیکس PR12-4DN
سنسور القایی سه سیمه NPN-NC قطر 12mm فاصله عملکرد 4mm آتونیکس PR12-4DN2
سنسور القایی سه سیمه NPN-NO قطر 12mm فاصله عملکرد 4mm آتونیکس PR12-4DN-V
سنسور القایی سه سیمه PNP-NO قطر 12mm فاصله عملکرد 4mm آتونیکس PR12-4DP
سنسور القایی سه سیمه PNP-NC قطر 12mm فاصله عملکرد 4mm آتونیکس PR12-4DP2
سنسور القایی سه سیمه PNP-NO قطر 12mm فاصله عملکرد 4mm آتونیکس PR12-4DP-V
سنسور القایی دو سیمه NC قطر 18mm فاصله عملکرد 5mm آتونیکس PR18-5AC
سنسور القایی دو سیمه NC قطر 18mm فاصله عملکرد 5mm آتونیکس PR18-5AC-V
سنسور القایی دو سیمه NO قطر 18mm فاصله عملکرد 5mm آتونیکس PR18-5AO
سنسور القایی دو سیمه NO قطر 18mm فاصله عملکرد 5mm آتونیکس PR18-5AO-V
سنسور القایی سه سیمه NPN-NO قطر 18mm فاصله عملکرد 5mm آتونیکس PR18-5DN
سنسور القایی سه سیمه NPN-NC قطر 18mm فاصله عملکرد 5mm آتونیکس PR18-5DN2
سنسور القایی سه سیمه NPN-NO قطر 18mm فاصله عملکرد 5mm آتونیکس PR18-5DN-V
سنسور القایی سه سیمه PNP-NO قطر 18mm فاصله عملکرد 5mm آتونیکس PR18-5DP
سنسور القایی سه سیمه PNP-NC قطر 18mm فاصله عملکرد 5mm آتونیکس PR18-5DP2
سنسور القایی سه سیمه PNP-NO قطر 18mm فاصله عملکرد 5mm آتونیکس PR18-5DP-V
سنسور القایی دو سیمه NC قطر 18mm فاصله عملکرد 8mm آتونیکس PR18-8AC
سنسور القایی دو سیمه NC قطر 18mm فاصله عملکرد 8mm آتونیکس PR18-8AC-V
سنسور القایی دو سیمه NO قطر 18mm فاصله عملکرد 8mm آتونیکس PR18-8AO
سنسور القایی دو سیمه NO قطر 18mm فاصله عملکرد 8mm آتونیکس PR18-8AO-V
سنسور القایی سه سیمه NPN-NO قطر 18mm فاصله عملکرد 8mm آتونیکس PR18-8DN
سنسور القایی سه سیمه NPN-NC قطر 18mm فاصله عملکرد 8mm آتونیکس PR18-8DN2
سنسور القایی سه سیمه NPN-NO قطر 18mm فاصله عملکرد 8mm آتونیکس PR18-8DN-V
سنسور القایی سه سیمه PNP-NO قطر 18mm فاصله عملکرد 8mm آتونیکس PR18-8DP
سنسور القایی سه سیمه PNP-NC قطر 18mm فاصله عملکرد 8mm آتونیکس PR18-8DP2
سنسور القایی سه سیمه PNP-NO قطر 18mm فاصله عملکرد 8mm آتونیکس PR18-8DP-V
سنسور القایی دو سیمه NC قطر 30mm فاصله عملکرد 10mm آتونیکس PR30-10AC
سنسور القایی دو سیمه NC قطر 30mm فاصله عملکرد 10mm آتونیکس PR30-10AC-V
سنسور القایی دو سیمه NO قطر 30mm فاصله عملکرد 10mm آتونیکس PR30-10AO
سنسور القایی دو سیمه NO قطر 30mm فاصله عملکرد 10mm آتونیکس PR30-10AO-V
سنسور القایی سه سیمه NPN-NO قطر 30mm فاصله عملکرد 10mm آتونیکس PR30-10DN
سنسور القایی سه سیمه NPN-NC قطر 30mm فاصله عملکرد 10mm آتونیکس PR30-10DN2
سنسور القایی سه سیمه NPN-NO قطر 30mm فاصله عملکرد 10mm آتونیکس PR30-10DN-V
سنسور القایی سه سیمه PNP-NO قطر 30mm فاصله عملکرد 10mm آتونیکس PR30-10DP
سنسور القایی سه سیمه PNP-NC قطر 30mm فاصله عملکرد 10mm آتونیکس PR30-10DP2
سنسور القایی سه سیمه PNP-NO قطر 30mm فاصله عملکرد 10mm آتونیکس PR30-10DP-V
سنسور القایی دو سیمه NC قطر 30mm فاصله عملکرد 15mm آتونیکس PR30-15AC
سنسور القایی دو سیمه NC قطر 30mm فاصله عملکرد 15mm آتونیکس PR30-15AC-V
سنسور القایی دو سیمه NO قطر 30mm فاصله عملکرد 15mm آتونیکس PR30-15AO
سنسور القایی دو سیمه NO قطر 30mm فاصله عملکرد 15mm آتونیکس PR30-15AO-V
سنسور القایی سه سیمه NPN-NO قطر 30mm فاصله عملکرد 15mm آتونیکس PR30-15DN
سنسور القایی سه سیمه NPN-NC قطر 30mm فاصله عملکرد 15mm آتونیکس PR30-15DN2
سنسور القایی سه سیمه NPN-NO قطر 30mm فاصله عملکرد 15mm آتونیکس PR30-15DN-V
سنسور القایی سه سیمه PNP-NO قطر 30mm فاصله عملکرد 15mm آتونیکس PR30-15DP
سنسور القایی سه سیمه PNP-NC قطر 30mm فاصله عملکرد 15mm آتونیکس PR30-15DP2
سنسور القایی سه سیمه PNP-NO قطر 30mm فاصله عملکرد 15mm آتونیکس PR30-15DP-V
سنسور القایی سه سیمه NPN-NO قطر 8mm فاصله عملکرد 1.5mm آتونیکس PRL08-1.5DN
سنسور القایی سه سیمه NPN-NC قطر 8mm فاصله عملکرد 1.5mm آتونیکس PRL08-1.5DN2
سنسور القایی سه سیمه NPN-NO قطر 8mm فاصله عملکرد 1.5mm آتونیکس PRL08-1.5DN-V
سنسور القایی سه سیمه PNP-NO قطر 8mm فاصله عملکرد 1.5mm آتونیکس PRL08-1.5DP
سنسور القایی سه سیمه PNP-NC قطر 8mm فاصله عملکرد 1.5mm آتونیکس PRL08-1.5DP2
سنسور القایی سه سیمه NPN-NO قطر 8mm فاصله عملکرد 2mm آتونیکس PRL08-2DN
سنسور القایی سه سیمه NPN-NC قطر 8mm فاصله عملکرد 2mm آتونیکس PRL08-2DN2
سنسور القایی سه سیمه PNP-NO قطر 8mm فاصله عملکرد 2mm آتونیکس PRL08-2DP
سنسور القایی سه سیمه PNP-NC قطر 8mm فاصله عملکرد 2mm آتونیکس PRL08-2DP2
سنسور القایی سه سیمه NPN-NO قطر 12mm فاصله عملکرد 4mm آتونیکس PRL12-4DN
سنسور القایی سه سیمه PNP-NO قطر 12mm فاصله عملکرد 4mm آتونیکس PRL12-4DP
سنسور القایی سه سیمه PNP-NC قطر 12mm فاصله عملکرد 4mm آتونیکس PRL12-4DP2
سنسور القایی دو سیمه NC قطر 18mm فاصله عملکرد 5mm آتونیکس PRL18-5AC
سنسور القایی دو سیمه NO قطر 18mm فاصله عملکرد 5mm آتونیکس PRL18-5AO
سنسور القایی دو سیمه NO قطر 18mm فاصله عملکرد 5mm آتونیکس PRL18-5AO-V
سنسور القایی سه سیمه NPN-NO قطر 18mm فاصله عملکرد 5mm آتونیکس PRL18-5DN
سنسور القایی سه سیمه NPN-NC قطر 18mm فاصله عملکرد 5mm آتونیکس PRL18-5DN2
سنسور القایی سه سیمه PNP-NO قطر 18mm فاصله عملکرد 5mm آتونیکس PRL18-5DP
سنسور القایی سه سیمه PNP-NC قطر 18mm فاصله عملکرد 5mm آتونیکس PRL18-5DP2
سنسور القایی دو سیمه NC قطر 18mm فاصله عملکرد 8mm آتونیکس PRL18-8AC
سنسور القایی دو سیمه NO قطر 18mm فاصله عملکرد 8mm آتونیکس PRL18-8AO
سنسور القایی دو سیمه NO قطر 18mm فاصله عملکرد 8mm آتونیکس PRL18-8AO-V
سنسور القایی سه سیمه NPN-NO قطر 18mm فاصله عملکرد 8mm آتونیکس PRL18-8DN
سنسور القایی سه سیمه NPN-NC قطر 18mm فاصله عملکرد 8mm آتونیکس PRL18-8DN2
سنسور القایی سه سیمه PNP-NO قطر 18mm فاصله عملکرد 8mm آتونیکس PRL18-8DP
سنسور القایی سه سیمه PNP-NC قطر 18mm فاصله عملکرد 8mm آتونیکس PRL18-8DP2
سنسور القایی دو سیمه NC قطر 30mm فاصله عملکرد 10mm آتونیکس PRL30-10AC
سنسور القایی دو سیمه NO قطر 30mm فاصله عملکرد 10mm آتونیکس PRL30-10AO
سنسور القایی دو سیمه NO قطر 30mm فاصله عملکرد 10mm آتونیکس PRL30-10AO-V
سنسور القایی سه سیمه NPN-NO قطر 30mm فاصله عملکرد 10mm آتونیکس PRL30-10DN
سنسور القایی سه سیمه NPN-NC قطر 30mm فاصله عملکرد 10mm آتونیکس PRL30-10DN2
سنسور القایی سه سیمه PNP-NO قطر 30mm فاصله عملکرد 10mm آتونیکس PRL30-10DP
سنسور القایی سه سیمه PNP-NC قطر 30mm فاصله عملکرد 10mm آتونیکس PRL30-10DP2
سنسور القایی دو سیمه NC قطر 30mm فاصله عملکرد 15mm آتونیکس PRL30-15AC
سنسور القایی دو سیمه NC قطر 30mm فاصله عملکرد 15mm آتونیکس PRL30-15AC-V
سنسور القایی دو سیمه NO قطر 30mm فاصله عملکرد 15mm آتونیکس PRL30-15AO
سنسور القایی سه سیمه NO قطر 30mm فاصله عملکرد 15mm آتونیکس PRL30-15AO-V
سنسور القایی سه سیمه NPN-NO قطر 30mm فاصله عملکرد 15mm آتونیکس PRL30-15DN
سنسور القایی سه سیمه NPN-NC قطر 12mm فاصله عملکرد 15mm آتونیکس PRL30-15DN2
سنسور القایی سه سیمه PNP-NO قطر 30mm فاصله عملکرد 15mm آتونیکس PRL30-15DP
سنسور القایی سه سیمه PNP-NC قطر 30mm فاصله عملکرد 15mm آتونیکس PRL30-15DP2
سنسور القایی سه سیمه NPN-NO قطر 12mm فاصله عملکرد 2mm آتونیکس PRS12-2DN
سنسور القایی سه سیمه NPN-NC قطر 12mm فاصله عملکرد 2mm آتونیکس PRS12-2DN2
سنسور القایی سه سیمه PNP-NO قطر 12mm فاصله عملکرد 2mm آتونیکس PRS12-2DP
سنسور القایی سه سیمه PNP-NC قطر 12mm فاصله عملکرد 2mm آتونیکس PRS12-2DP2
سنسور القایی سه سیمه NPN-NO قطر 12mm فاصله عملکرد 4mm آتونیکس PRS12-4DN
سنسور القایی سه سیمه NPN-NC قطر 12mm فاصله عملکرد 4mm آتونیکس PRS12-4DN2
سنسور القایی سه سیمه PNP-NO قطر 12mm فاصله عملکرد 4mm آتونیکس PRS12-4DP
سنسور القایی سه سیمه PNP-NC قطر 12mm فاصله عملکرد 4mm آتونیکس PRS12-4DP2
سنسور القایی دو سیمه NC قطر 8mm فاصله عملکرد 1.5mm آتونیکس PRT08-1.5DC
سنسور القایی دو سیمه NO قطر 8mm فاصله عملکرد 1.5mm آتونیکس PRT08-1.5DO
سنسور القایی دو سیمه NO قطر 8mm فاصله عملکرد 1.5mm آتونیکس PRT08-1.5DO-V
سنسور القایی دو سیمه NC قطر 8mm فاصله عملکرد 2mm آتونیکس PRT08-2DC
سنسور القایی دو سیمه NO قطر 8mm فاصله عملکرد 2mm آتونیکس PRT08-2DO
سنسور القایی دو سیمه NC قطر 12mm فاصله عملکرد 2mm آتونیکس PRT12-2DC
سنسور القایی دو سیمه NO قطر 12mm فاصله عملکرد 2mm آتونیکس PRT12-2DO
سنسور القایی دو سیمه NC قطر 12mm فاصله عملکرد 2mm آتونیکس PRT12-2XC
سنسور القایی دو سیمه NO قطر 12mm فاصله عملکرد 2mm آتونیکس PRT12-2XO
سنسور القایی دو سیمه NC قطر 12mm فاصله عملکرد 4mm آتونیکس PRT12-4DC
سنسور القایی دو سیمه NO قطر 12mm فاصله عملکرد 4mm آتونیکس PRT12-4DO
سنسور القایی دو سیمه NC قطر 12mm فاصله عملکرد 4mm آتونیکس PRT12-4XC
سنسور القایی دو سیمه NO قطر 12mm فاصله عملکرد 4mm آتونیکس PRT12-4XO
سنسور القایی دو سیمه NC قطر 18mm فاصله عملکرد 5mm آتونیکس PRT18-5DC
سنسور القایی دو سیمه NO قطر 18mm فاصله عملکرد 5mm آتونیکس PRT18-5DO
سنسور القایی دو سیمه NC قطر 18mm فاصله عملکرد 5mm آتونیکس PRT18-5XC
سنسور القایی دو سیمه NO قطر 18mm فاصله عملکرد 5mm آتونیکس PRT18-5XO
سنسور القایی دو سیمه NC قطر 18mm فاصله عملکرد 8mm آتونیکس PRT18-8DC
سنسور القایی دو سیمه NO قطر 18mm فاصله عملکرد 8mm آتونیکس PRT18-8DO
سنسور القایی دو سیمه NC قطر 18mm فاصله عملکرد 8mm آتونیکس PRT18-8XC
سنسور القایی دو سیمه NO قطر 18mm فاصله عملکرد 8mm آتونیکس PRT18-8XO
سنسور القایی دو سیمه NC قطر 30mm فاصله عملکرد 10mm آتونیکس PRT30-10DC
سنسور القایی دو سیمه NO قطر 30mm فاصله عملکرد 10mm آتونیکس PRT30-10DO
سنسور القایی دو سیمه NO قطر 30mm فاصله عملکرد 10mm آتونیکس PRT30-10DO-V
سنسور القایی دو سیمه NC قطر 30mm فاصله عملکرد 10mm آتونیکس PRT30-10XC
سنسور القایی دو سیمه NO قطر 30mm فاصله عملکرد 10mm آتونیکس PRT30-10XO
سنسور القایی دو سیمه NC قطر 30mm فاصله عملکرد 15mm آتونیکس PRT30-15DC
سنسور القایی دو سیمه NO قطر 30mm فاصله عملکرد 15mm آتونیکس PRT30-15DO
سنسور القایی دو سیمه NC قطر 30mm فاصله عملکرد 15mm آتونیکس PRT30-15XC
سنسور القایی دو سیمه NO قطر 30mm فاصله عملکرد 15mm آتونیکس PRT30-15XO